您是否好奇近年中考的竞争态势有何变化?本文汇总了太原中考历年的核心数据——报名人数与招生计划,为您揭示趋势,提供关键参考。

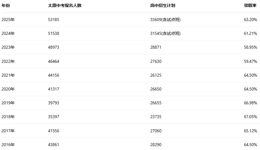
从数据趋势看,2016至2018年太原市中考报名人数经历了一轮下行,并在2018年探底。此后自2019年起,报名人数强势反弹,进入持续上升通道,至2025年已达53,185人,较2024年增加1,647人。为更直观地呈现这一变化趋势,我们通过下述柱状图进行展示。

上图直观地揭示了近年太原中考报名人数的增长曲线,这一变化趋势也直接映射出考生面临的竞争强度在同步演变。


从上图可以看出,太原中考录取率在2019-2021年因报名人数增长而承压下降后,近年来已进入波动回升阶段。具体来看:
2022年录取率小幅反弹。
2023年略有回落至58.95%。
2024年起显著回升:录取率上浮至61.21%,主因是招生计划中增加了综合高中试点学校名额,使录取率重新站上60%。
2025年招生计划将继续包含该试点项目。

2018-2023年:整体呈下降趋势,其中2021-2023年的录取率均低于60%基准线。
2024年:因增加综合高中试点等招生计划,录取率实现近4年来的首次突破,回升至60%以上。
2025年:录取率延续上升势头,继续走高。


关于2025年各类学校
招生计划及收费标准











更多关于中考攻略信息
点击下方卡片关注了解更多!


长按二维码识别
关注我们
带你了解更多教育资讯




